
亞馬遜智能眼鏡專利圖解
鳳凰科技訊 北京時間6月19日消息,據科技博客VentureBeat報道,最新專利申請文件顯示,亞馬遜可能正在開發一款類似于谷歌眼鏡的智能眼鏡產品,而且很實用。
根據亞馬遜在提交給美國專利商標局的專利文件中的描述,亞馬遜的這款可穿戴設備可以將杰夫·貝索斯(Jeff Bezos)的倉庫工人大軍轉化成“半機械人”,能夠快速確認所要發貨的商品。
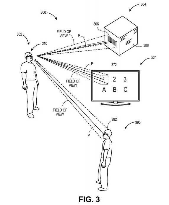
亞馬遜智能眼鏡內置了一個可穿戴計算機,能夠確認商品在給定區域的存放位置。亞馬遜智能眼鏡還配備了一個圖像傳感器,能夠識別與給定任務相關的商品。該傳感器或許還能夠識別包裹標記,比如郵寄地址、條形碼或二維碼。

亞馬遜智能眼鏡專利圖解
亞馬遜智能眼鏡的一個酷功能在于它能夠在透鏡上提供具體的文本信息,這樣就能確保識別時不會出現差錯,并且自始至終解放用戶的雙手。
當智能眼鏡中的傳感器識別目標對象時,它可能會向佩戴者發送指令,告訴后者接下來應該做什么。傳感器也可能只是簡單地發送商品信息,比如商品運送的目的地或配送方式。
亞馬遜的這項技術為可穿戴眼鏡產品在工業或企業領域找到了又一用途。但是從消費者角度講,這款可穿戴眼鏡的用處不大。