近日,雷丁汽車集團有限公司新增股權凍結信息,凍結股權數額為25.88億元。
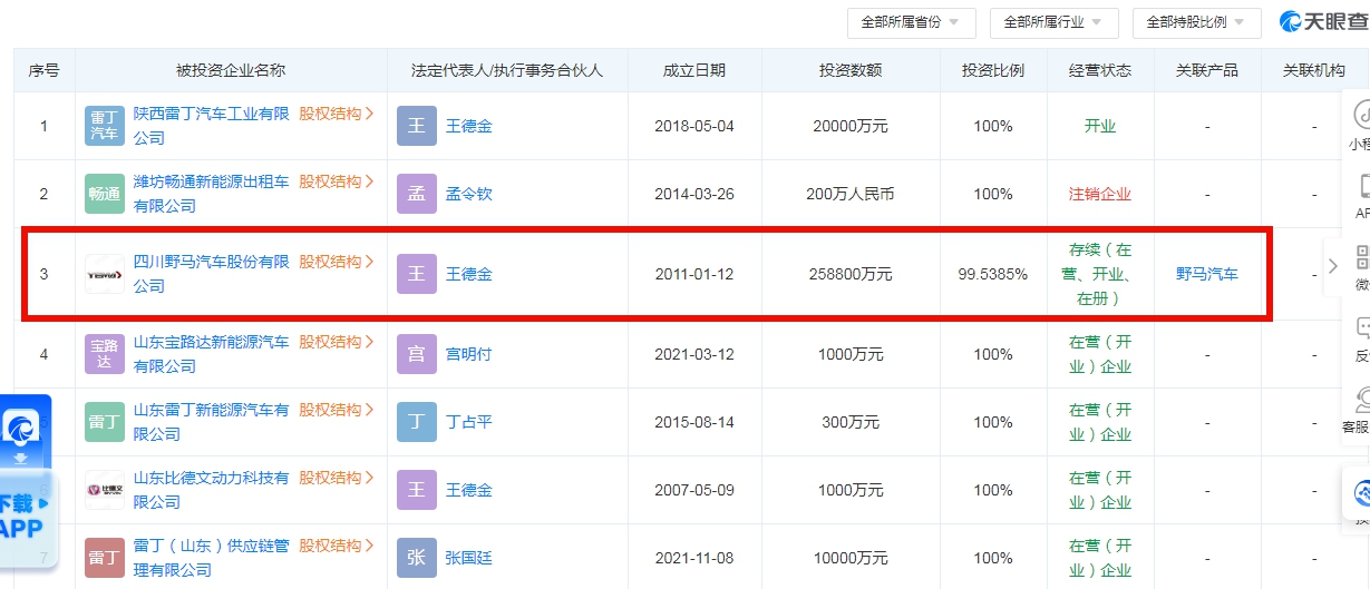
國家企業信用信息公示系統網站顯示,股權被執行企業為四川野馬汽車股份有限公司,凍結股權數額為258800萬元人民幣,執行法院為凍結期限為山東省濰坊市濰城區人民法院,2023年12月6日至2026年12月5日。

據天眼查APP消息,雷丁汽車成立於2012年,位於山東省濰坊市,是一家以從事汽車製造業為主的企業,法定代表人為王德金,註冊資本1億元,由比德文控股集團有限公司全資持股。目前該公司存在多條被執行信息,累計被執行總金額9547.71萬元;此外還存在多條限制消費令、失信被執行人和終本案件信息。

對外投資信息顯示,雷丁汽車持有四川野馬汽車股份有限公司約99.54%的股份,投資數額為25.88億元。