寶能地產股份有限公司新增一則被執行人信息,執行標的1.4億元。

中國執行信息公開網截圖
中國執行信息公開網顯示,4月1日,寶能地產股份有限公司新增被執行人信息,執行法院深圳市福田區人民法院,執行標的140160386元。

中國執行信息公開網截圖
同時,寶能地產股份有限公司全資子公司深圳寶能瑞達實業有限公司也新增被執行人信息,兩者執行法院與執行標的相同。

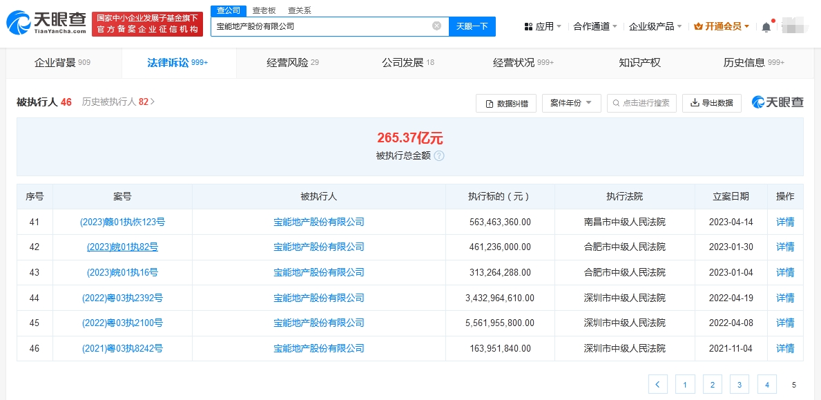
天眼查截圖
另據天眼查風險信息顯示,目前,寶能地產股份有限公司存在40餘條被執行人信息,被執行總金額超265.37億元。
國家企業信用信息公示系統顯示,寶能地產股份有限公司2002年7月3日成立,經營範圍包括在合法取得土地使用權範圍從事房地產開發經營活動;自有物業的租賃;國內商業、物資供銷業(不含專營、專控、專賣);信息諮詢(不含限制項目);計算機軟件開發等。